Skip to content

Quick-change system SWV ISO II/III

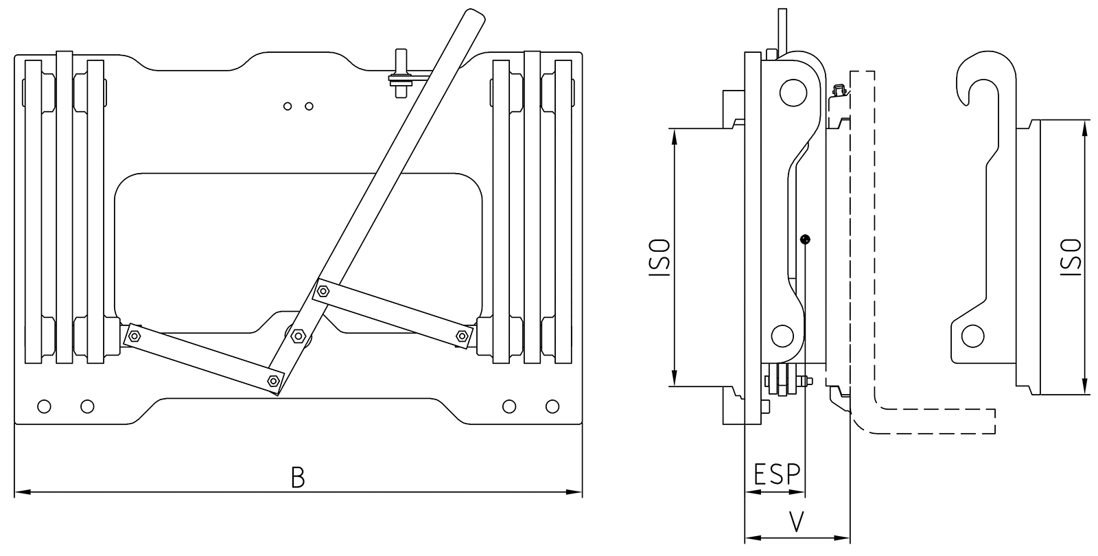
With the Durwen quick-change unit SWV, attachments can be changed quickly and without the use of tools. This device is suitable when the truck is used for a wide range of applications and several attachments are needed. The lower locking mechanism is manually operated as standard. The fork carriage is hooked into the upper mounting of the base frame.

Product inquiry

Previous
Next