Skip to content

Drehgerät 360° DG-S

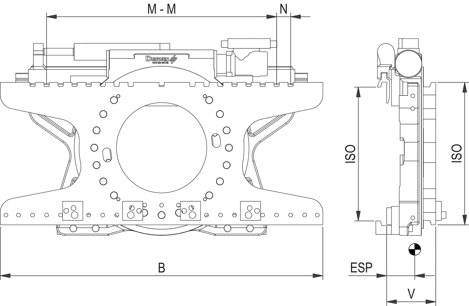
Das Drehgerät DG-S hat zusätzlich einen separaten Seitenschub, der konstant +/- 100 mm verschieben kann. Das Grundgerät ist aus einem massivem Stahlgusskörper und der Antrieb erfolgt über einen hydraulischen Drehmotor und über ein Schneckenrad-Schneckenwelle Antrieb, bei der ständig mehrere Windungen im Eingriff sind.

Produktanfrage

Previous
Next